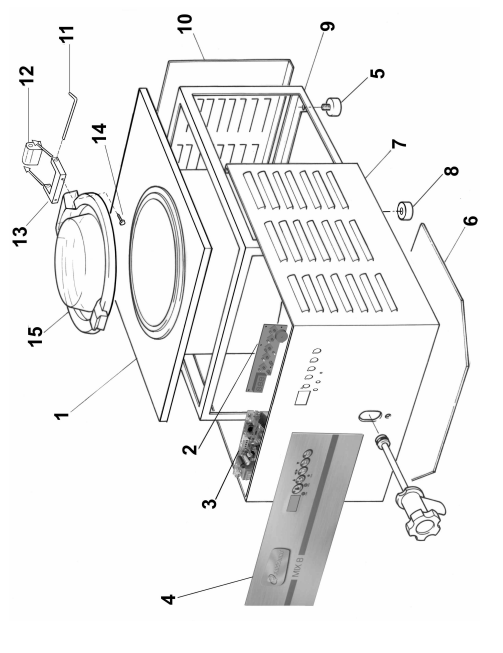
Ersatzteile für MIX 8

Ref
Produkt
Stückpreis

Ref
Produkt
Stückpreis

Ref
Produkt
Stückpreis

Ref
Produkt
Stückpreis